第717回 男子中の入試問題 立体図形 1
「第717回 男子中の入試問題 立体図形 1」
前回まで、近年に男子中の入試で出された「平面図形」の問題について考えました。
今回からは「立体図形」の問題を見ていきます。
その1回目の今回は、「柱体の求積」がテーマの問題を取り扱います。
1問目は、柱体の体積に関する基本レベルの問題です。
【問題】図1のような直方体から、底面の直径が4㎝の円柱の半分をくり抜いた形の容器があり、底面から水面までの高さが3㎝となるように水を入れました。また、図2のように、この容器の置き方を変えました。次の問いに答えなさい。ただし、円周率は3.14とし、容器の厚みは考えないものとします。

1) 容器に入っている水は何㎤ですか。
2) 図2の底面から水面までの高さは何㎝ですか。
(立教池袋中学校 2024年 問題6 問題文一部変更)
【考え方】
1)
水の部分は、長方形から直径が4㎝の半円を取り除いた図形を底面とする、高さ3㎝の柱体です。

4㎝+4㎝+7㎝=15㎝ … 長方形の横の長さ
4㎝÷2=2㎝ … 円の半径
4㎝×15㎝-2㎝×2㎝×3.14÷2=53.72㎠ … 底面積
「柱体の体積=底面積×高さ」ですから、水の体積は
53.72㎠×3㎝=161.16㎤
です。
答え 161.16㎤
2)
水は、縦の長さが□㎝、横の長さが4㎝の長方形から、半径が2㎝の半円を取り除いた図形を底面とする、高さ5㎝の柱体です。

水の体積は容器の置き方を変えても変わりませんから、水の底面積は
161.16㎤÷5㎝=32.232㎠
です。
4㎝×□㎝-2㎝×2㎝×3.14÷2=32.232㎠
□㎝=(32.232㎠+6.28㎠)÷4㎝=9.628㎝
答え 9.628㎝
本問は、柱体の体積の求め方を確認できる問題です。
2)を間違えているときは、計算が正しいか、「(長方形-半円)×高さ=体積」を利用して式を作っているかをチェックしましょう。
2問目は、平面図形の知識を必要とする問題です。
【問題】下の[図Ⅰ]のような形を底面とする柱状の容器が[図Ⅱ]のように水平な地面につくように置かれています。この容器に水を入れたら[図Ⅲ]のようになりました。入れた水の体積は何㎤ですか。ただし、容器の厚みは考えないものとし、円周率は3.14とします。

(本郷中学校 2024年 問題2-(6))
【考え方】
水は、[図Ⅲ]の斜線部分を底面とする、高さ30㎝の柱体です。
容器と水を半分にした図形で底面積を考えます。

赤色三角形と水色三角形は「斜辺と他の一辺が等しい直角三角形」なので合同ですから、面積が同じ三角形です。
□+☆=□+★ → ☆=★

よって、水の底面(☆+■)の面積は半径8㎝のおうぎ形(★+■)の面積と同じです。
また、上の図の赤色三角形と水色三角形は、(斜辺の長さ):(最も短い辺の長さ)=2:1 の直角三角形ですから、角○=30度です。
以上から、容器の水の半分の底面積は半径8㎝、中心角の大きさ30度がのおうぎ形の面積と同じであることがわかります。
8㎝×8㎝×3.14×30度/360度×2×30㎝=1004.8㎤
答え 1004.8㎤
本問は、立体図形で利用する平面図形の知識を確認できる問題です。
もし、底面積を求めることができないようでしたら、次のような平面図形の問題でおさらいをしましょう。

3問目は、水の入った水そうを傾ける問題です。
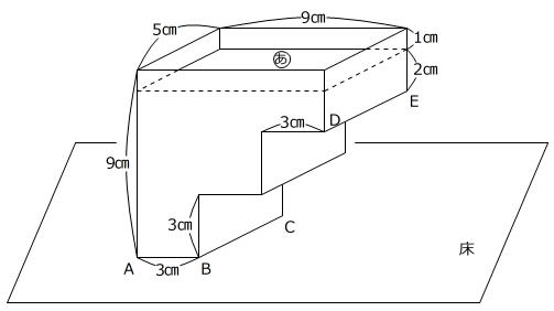
【問題】下の図のように、あ○の部分が開いている容器が3点A、B、Cが床に接するように置いてあります。この容器はとなり合っている面がすべて直角に交わっていて、上から1㎝のところまで水が入っています。この容器を2点B、Cが床から離れないように動かすことを考えます。この容器を2点D、Eが床に接するように動かしたとき、こぼれる水の量は( ① )㎤です。さらに、この容器を再びもとの状態にもどしたとき、水の深さが一番深いところは( ② )㎝です。( ① )、( ② )にあてはまる数を答えなさい。

(サレジオ学院中学校 2024年 問題2-(4) 問題文一部変更)
【考え方】
容器は、底面が八角形、高さが5㎝の柱体とみることができますから、底面にあたる八角形を正面から見た図をかきます。

図1の場合も図2の場合も
「水の体積+容器のすき間の体積=容器の体積」 … (ア)
です。
また、水もすき間も容器も高さが5㎝の柱体とみることができますから、(ア)は正面から見た「水の面積+容器のすき間の面積=容器の底面積」と考えることもできます。
容器の底面(八角形)は1辺の長さが3㎝の正方形が6つ集まった図形ですから、容器の底面積は
3㎝×3㎝×6=54㎠
で、図1のすき間の面積は
1㎝×9㎝=9㎠
です。
54㎠-9㎠=45㎠ … 図1の水の面積
45㎠×5㎝=225㎤ … 図1の水の体積
また、図2のすき間の面積は
9㎝×9㎝÷2=40.5㎠
ですから、図2の水の面積は
54㎠-40.5㎠=13.5㎠
です。
13.5㎠×5㎝=67.5㎤ … 図2の水の体積
以上から、こぼれる水の量は
225㎤-67.5㎤=157.5㎤ … ①
とわかります。
次に、容器を元の状態に戻した場合について、正面から見た図をかきます。

今度は水がこぼれませんので、
図2の水の面積=図3の水の面積=13.5㎠
です。
13.5㎠+3㎝×3㎝=22.5㎠ … 図3の水の面積+★の面積
図3の 水の面積+★の面積 は、縦の長さが□㎝、横の長さが 3㎝+3㎝=6㎝ の長方形の面積と同じです。
□㎝×6㎝=22.5㎠ → □㎝=22.5㎠÷6㎝=3.75㎝ … ②
答え ① 157.5、 ② 3.75
本問は、立体図形の見方と表し方を確認できる問題です。
問題の立体図形(容器・水・すき間)が高さ(奥行き)の等しい柱体であることから、正面から見た図を利用する点が大切なポイントです。
今回は、2024年度に男子中の入試で出された「柱体の求積」がテーマの問題をご紹介しました。
立体図形の問題では、体積や表面積の公式などの知識と、見取り図や投影図などの作図力が問われます。
立体図形の応用問題が苦手なようでしたら、まずは今回ご紹介したような「柱体の求積」の問題を利用して、知識や作図力をつけていきましょう。


 
					 
				


 
 